Automatic Temperature Controls for 2015 Chevrolet Malibu
No.
Part # / Description / Price
Price
3
Black Headlamp Switch
GM
GM Description: This GM Genuine Part is designed, engineered, and tested to rigorous standards and is backed by General Motors
Collision parts are designed to help promote proper and safe repair
MSRP $79.60
$67.66
MSRP $79.60
$67.66
3
Black Headlamp Switch
GM
GM Description: Regal. Cruze, Cruze Limited. Without fog lamps, labeled 22901652. Verano. Without foglamp. Malibu. 2011-2013, black, without fog lamp. Exc.Fog Lamps. Color-Black. This GM Genuine Part is designed, engineered, and tested to rigorous standards and is backed by General Motors
Collision parts are designed to help promote proper and safe repair
MSRP $68.66
$46.96
MSRP $68.66
$46.96
5
Black Hazard Warning Switch
GM
GM Description: Malibu. Work with vehicle electronics to help optimize vehicle capabilities
$19.93
$19.93
6
Jet Black Passenger Side Vehicle Stability Control System Switch
GM
GM Description: Without park assist, without lane departure. This GM Genuine Part is designed, engineered, and tested to rigorous standards and is backed by General Motors
6
Jet Black Passenger Side Vehicle Stability Control System Switch
GM
GM Description: Without park assist, with lane departure. This GM Genuine Part is designed, engineered, and tested to rigorous standards and is backed by General Motors
7
Accessory Power Receptacle without Cover
GM
GM Description: This GM Genuine Part is designed, engineered, and tested to rigorous standards and is backed by General Motors
Original equipment parts are designed to work with your GM vehicle safety systems -- aftermarket replacement parts may not meet the same OE safety regulations, depending on the part type
MSRP $12.73
$8.71
MSRP $12.73
$8.71
8
Ebony Accessory Power Receptacle Retainer
GM
GM Description: This GM Genuine Part is designed, engineered, and tested to rigorous standards and is backed by General Motors
MSRP $8.82
$5.03
MSRP $8.82
$5.03
9
Sun Load Temperature, Ambient Light Sensor
GM
GM Description: This GM Genuine Part is designed, engineered, and tested to rigorous standards and is backed by General Motors
MSRP $15.36
$10.55
MSRP $15.36
$10.55
10
Ambient Air Temperature Sensor Wiring Harness Package
GM
GM Description: This GM Genuine Part is designed, engineered, and tested to rigorous standards and is backed by General Motors
11
Heating and Air Conditioning Remote Control
GM
GM Description: With auto temp cntrl. This part requires programming and/or special setup procedures GM Service Information describes the procedures and special tools needed to ensure proper operation in the vehicle
Enables you to control climate control settings
This GM Genuine Part is designed, engineered, and tested to rigorous standards and is backed by General Motors
MSRP $266.14
$149.04
MSRP $266.14
$149.04
11
Heating and Air Conditioning Remote Control
GM
GM Description: Without auto temp cntrl. Without climate control. This part requires programming and/or special setup procedures GM Service Information describes the procedures and special tools needed to ensure proper operation in the vehicle
Enables you to control climate control settings
This GM Genuine Part is designed, engineered, and tested to rigorous standards and is backed by General Motors
MSRP $281.55
$157.67
MSRP $281.55
$157.67
11
Acdelco™ HVAC Temperature Control Panel
GM
GM Description: Without auto temp cntrl. Without climate control.
12
Heating and Air Conditioning Control Panel
GM
GM Description: Without climate control. Malibu. Without heated seats. 2.0l, 2.5l. Restores the operation and function of your vehicle's heating and cooling controls
This GM Genuine Part is designed, engineered, and tested to rigorous standards and is backed by General Motors
12
Acdelco™ HVAC Temperature Control Panel
GM
GM Description: With climate control, without Eco with heated seats. Malibu. With heated seats. 2.0l, 2.5l.
12
Heating and Air Conditioning Control Panel
GM
GM Description: With climate control, without eco, with heated seats. Malibu. With heated seats. 2.0l, 2.5l. This GM Genuine Part is designed, engineered, and tested to rigorous standards and is backed by General Motors
12
Acdelco™ HVAC Temperature Control Panel
GM
GM Description: With climate control, without Eco without heated seats.
12
Acdelco™ HVAC Temperature Control Panel
GM
GM Description: Without climate control. Malibu. Without heated seats. 2.0l, 2.5l.
12
Heating and Air Conditioning Control Panel
GM
GM Description: With climate control, without eco, without heated seats. This GM Genuine Part is designed, engineered, and tested to rigorous standards and is backed by General Motors
13
Display Unit
GM
GM Description: Verano. LaCrosse. Driver info display. Cruze. Without 7 touch screen. 2011-2013, without navigation sys. Regal. Without navigation with graphic display.
No.
Part # / Description / Price
Price
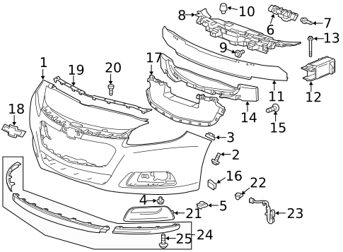
1
Front Bumper Cover 1
GM
GM Description: 2014-16. Helps define the shape of your vehicle\
\
Helps protect internal bumper components from the elements\
\
This GM Genuine Part is designed, engineered, and tested to rigorous standards and is backed by General Motors
\
Helps protect internal bumper components from the elements\
\
This GM Genuine Part is designed, engineered, and tested to rigorous standards and is backed by General Motors
Not For Sale
Not For Sale
2
Multi-Purpose Bolt
GM
GM Description: This GM Genuine Part is designed, engineered, and tested to rigorous standards and is backed by General Motors
MSRP $7.54
$4.89
MSRP $7.54
$4.89
3
Door Trim Panel Nut- PART NUMBER CHANGED TO 11609952
GM
GM Description: This GM Genuine Part is designed, engineered, and tested to rigorous standards and is backed by General Motors
4
Fender Liner Retainer-
GM
GM Description: This GM Genuine Part is designed, engineered, and tested to rigorous standards and is backed by General Motors
MSRP $7.43
$4.82
MSRP $7.43
$4.82
5
M4.2 x 1.41 U Type Nut
GM
GM Description: 11513599 - U-type nut/retainer. Dimension: M4.2x1.41, 0.65-3.80 pnl thk. Fits Corvette, Malibu, Camaro, Caprice, Lumina, Impala, Grand am, Grand Prix, G8 and many more. Thanks for checking it out and be sure to view the fitment guide to be sure this fits your vehicle. If you have doubts that this retainer fits your vehicle, please click here to send us an email, and be sure to include your VIN (Vehicle Identification Number).
MSRP $8.37
$5.44
MSRP $8.37
$5.44
7
Side Bracket Rivet- PART NUMBER CHANGED TO 19352194
GM
GM Positions: Right
Description: This GM Genuine Part is designed, engineered, and tested to rigorous standards and is backed by General Motors
8
Front Bumper Fascia Center Support
GM
GM Description: 2014-16. 2013. Helps keep fascia secure
This GM Genuine Part is designed, engineered, and tested to rigorous standards and is backed by General Motors
MSRP $237.51
$160.25
MSRP $237.51
$160.25
9
M6x1x30 Multi-Purpose Bolt
GM
GM Notes: PARTS: Part included with upper support.
Description: This GM Genuine Part is designed, engineered, and tested to rigorous standards and is backed by General Motors
10
Front Bumper Fascia Bumper
GM
GM Notes: PARTS: Part included with upper support.
Description: 2014-16. 2013. Type 2. Helps prevent damage to bumper cover
This GM Genuine Part is designed, engineered, and tested to rigorous standards and is backed by General Motors
MSRP $63.10
$43.33
MSRP $63.10
$43.33
11
Front Bumper Impact Bar
GM
GM Description: 2014-16. 2013. Helps limit damage in low impact collisions
This GM Genuine Part is designed, engineered, and tested to rigorous standards and is backed by General Motors
MSRP $335.85
$226.60
MSRP $335.85
$226.60
12
Front Driver Side Bumper Energy Lower Absorber
GM
GM Positions: Left
Description: 2014-16. With gs. 2013. Helps provide protection during impacts
This GM Genuine Part is designed, engineered, and tested to rigorous standards and is backed by General Motors
MSRP $218.22
$147.24
MSRP $218.22
$147.24
12
Front Passenger Side Bumper Energy Absorber
GM
GM Positions: Right
Description: 2014-16. With gs. 2013. Helps provide protection during impacts
This GM Genuine Part is designed, engineered, and tested to rigorous standards and is backed by General Motors
MSRP $189.77
$128.04
MSRP $189.77
$128.04
13
M8x1.25x100 Multi-Purpose Bolt
GM
GM Positions: Left
Description: This GM Genuine Part is designed, engineered, and tested to rigorous standards and is backed by General Motors
MSRP $7.93
$5.15
MSRP $7.93
$5.15
14
Front Bumper Fascia Energy Absorber
GM
GM Description: 2014-16. Helps provide protection during impacts
This GM Genuine Part is designed, engineered, and tested to rigorous standards and is backed by General Motors
MSRP $174.65
$117.84
MSRP $174.65
$117.84
15
M4.2x1.41x20 Multi-Purpose Bolt
GM
GM Positions: Left
Description: This GM Genuine Part is designed, engineered, and tested to rigorous standards and is backed by General Motors
MSRP $8.40
$5.46
MSRP $8.40
$5.46
16
U-Nut
GM
GM Positions: Left
Description: 11515638 - Another great U-type nut from GM. Dimension: M4.2X1.41X10.5.5X22. In a survival situation this could be sharpened and
used as a fishing hook or a blowgun dart tip! Thanks for checking it out and be sure to view the fitment guide to be sure this
fits your vehicle. If you have doubts that this [nut]fits your vehicle, please click here to send us an email, and be sure to include your VIN (Vehicle Identification Number).
MSRP $7.42
$4.81
MSRP $7.42
$4.81
17
Front Bumper Fascia Center Air Deflector
GM
GM Description: 2014-16, with 2.0L turbo. Helps keep engine running cool
Maximizes air flow through the radiator
This GM Genuine Part is designed, engineered, and tested to rigorous standards and is backed by General Motors
18
Front Bumper Fascia Bowtie Logo
GM
GM Description: 2014-16. 2013. Enhances the appearance of your vehicle's bumper cover
This GM Genuine Part is designed, engineered, and tested to rigorous standards and is backed by General Motors
MSRP $95.67
$65.12
MSRP $95.67
$65.12
19
Front Driver Side Bumper Fascia Blackout Molding
GM
GM Positions: Left
Description: 2014-16. 2013. Helps protect your vehicle's bumper from dents and dings
This GM Genuine Part is designed, engineered, and tested to rigorous standards and is backed by General Motors
MSRP $35.32
$24.26
MSRP $35.32
$24.26
19
Passenger Side Front Bumper Fascia Blackout Molding
GM
GM Positions: Right
Description: 2014-16. 2013. Helps protect your vehicle's bumper from dents and dings
This GM Genuine Part is designed, engineered, and tested to rigorous standards and is backed by General Motors
MSRP $33.32
$22.88
MSRP $33.32
$22.88
20
Bolt
GM
GM Positions: Right
Description: 5x20mm. 2011-14. 2014-16. 2012-2013. 2011-2013 without gs. Without GS. 5x2x20mm upper. 5mm. With eAssist. Wheelhouse liner,bolt. 2015-16 with rs pkg. This GM Genuine Part is designed, engineered, and tested to rigorous standards and is backed by General Motors
MSRP $14.25
$9.26
MSRP $14.25
$9.26
21
Front Passenger Side Lower Outer Grille
GM
GM Positions: Right
Description: 2014-16, with fog lamps. 2013, with fog lamps. Helps protect radiator from debris
Allows air flow to the engine compartment
This GM Genuine Part is designed, engineered, and tested to rigorous standards and is backed by General Motors
MSRP $92.99
$63.30
MSRP $92.99
$63.30
21
Front Driver Side Lower Outer Grille
GM
GM Positions: Left
Description: 2014-16, with fog lamps. 2013, with fog lamps. Helps protect radiator from debris
Allows air flow to the engine compartment
This GM Genuine Part is designed, engineered, and tested to rigorous standards and is backed by General Motors
MSRP $92.99
$63.30
MSRP $92.99
$63.30
21
Front Passenger Side Lower Outer Grille
GM
GM Positions: Right
Description: 2014-16, without fog lamps. 2013, without fog lamps. Helps protect radiator from debris
Allows air flow to the engine compartment
This GM Genuine Part is designed, engineered, and tested to rigorous standards and is backed by General Motors
MSRP $57.54
$39.51
MSRP $57.54
$39.51
21
Front Driver Side Lower Outer Grille
GM
GM Positions: Left
Description: 2014-16, without fog lamps. 2013, without fog lamps. Helps protect radiator from debris
Allows air flow to the engine compartment
This GM Genuine Part is designed, engineered, and tested to rigorous standards and is backed by General Motors
MSRP $57.54
$39.51
MSRP $57.54
$39.51
22
Ambient Air Temperature Sensor Assembly with 2 Terminals and 2 Alignment Tabs
GM
GM Description: Repairs the outside temperature display function caused by failed ambient temp sensor
MSRP $10.58
$6.03
MSRP $10.58
$6.03
23
Ambient Air Temperature Sensor Wiring Harness
GM
GM Description: 2014-16. This GM Genuine Part is designed, engineered, and tested to rigorous standards and is backed by General Motors
MSRP $106.12
$59.96
MSRP $106.12
$59.96
24
Front Bumper Fascia Lower Air Deflector
GM
GM Description: 2014-16. 2013. This GM Genuine Part is designed, engineered, and tested to rigorous standards and is backed by General Motors
MSRP $104.03
$70.82
MSRP $104.03
$70.82
25
4.2x1.41x20 Multi-Purpose Bolt
GM
GM Notes: PARTS: Part included with lower deflector.
Description: This GM Genuine Part is designed, engineered, and tested to rigorous standards and is backed by General Motors
MSRP $4.32
$2.80
MSRP $4.32
$2.80
1 This price excludes a refundable manufacturer's core charge. Add the part to your cart to see the core charge.
Related Parts
Part # / Description / Price
Price
Instrument Panel Air Duct Air Temperature Sensor
GM
GM Description: This GM Genuine Part is designed, engineered, and tested to rigorous standards and is backed by General Motors
Original equipment parts are designed to work with your GM vehicle safety systems -- aftermarket replacement parts may not meet the same OE safety regulations, depending on the part type
MSRP $39.05
$22.25
MSRP $39.05
$22.25

